Masaba Mining Equipment, Inc Issued New Patent
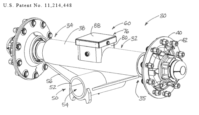
Masaba Mining Equipment, Inc., a client of Woods Fuller, requested help with protecting an innovation for its aggregate conveyors, and we prepared and filed a patent application on the technology that was issued as U.S. Patent No. 11,214,448 by the U.S. Patent and Trademark Office (U.S.P.T.O.) entitled “AXLE-INTEGRATED MOVEMENT SENSING APPARATUS FOR CONVEYORS.” The invention protectively integrates into the axle housing a device for measuring the movement of the conveyor via the axle rotation.
If you have a development or invention that you would like to investigate protecting, please contact Jeff Proehl at Woods, Fuller, Shultz, and Smith, P.C. to discuss your options.
The information in this blog is accurate as of the date of publication.

